Description
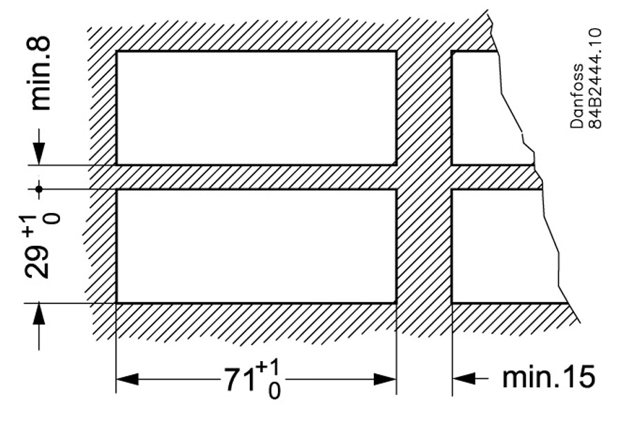
EKC 202C, Ref. Controller
| Product Group : | Electronic Cont - Danfoss |
|---|
| Product Group : | Electronic Cont - Danfoss |
|---|
| Family : | EKC |
|---|
| Display On Front : | Yes |
|---|
| Frequency : | 50/60 Hz | Power Supply : | 230 V |
|---|---|---|---|
| Voltage : | 230 V |
| Energy Consumption : | 2.5 VA |
|---|
| Controller Type : | Refrig. Controller (Temp) | Function : | 4 Outputs,2 Temp.Sensors, DI |
|---|---|---|---|
| Model Number : | 084B8523 |
| Max Number of Compressors : | 1 pcs | Max Number of Evaporators : | 1 pcs |
|---|
| Commodity Code : | 85371010 | Country Of Origin : | CHN |
|---|---|---|---|
| EAN : | 5702428081122 | Gross Weight : | 0.252 kg |
| Net Weight : | 0.21 kg | Weight : | 0.21 kg |
|---|
| Approval : | C-TICK, CE, EAC, Intertek Semco, cURus |
|---|
| File name | Document Type | Extension | Size |
|---|---|---|---|
| manufacturer-s-declaration-danfoss-md-080r1205-01-ast-id406341016813-0101.pdf | Conformity Declaration | 255.24 KB | |
| eu-uk-declaration-danfoss-eu-uk-084r0835-ab-ast-id365935428466-0301.pdf | Conformity Declaration | 771.74 KB | |
| manufacturer-s-declaration-danfoss-md-uk-080r1228-04-ast-id365946724639-0301.pdf | Conformity Declaration | 434.79 KB | |
| instructions-ekc-202a-ekc-202b-ekc-202c-ast-an00008642733201-000801.pdf | Installation Manual | 976.69 KB | |
| electrical-safety-certificate-ul-e31024-ast-id365930080167-0201.pdf | Conformity Declaration | 5.22 MB | |
| manufacturer-s-declaration-danfoss-md-080r0815-02-ast-id365946717633-0201.pdf | Conformity Declaration | 421.28 KB | |
| manufacturer-s-declaration-danfoss-md-080r1221-02-ast-id365946723638-0201.pdf | Conformity Declaration | 464.63 KB | |
| manufacturer-s-declaration-danfoss-md-084r0812-01-ast-id365946729643-0101.pdf | Conformity Declaration | 316.63 KB |